speciální provedení s rozsahem +10..+130°C stonek 160mm, výroba na zakázku.
Termostaty řady TH140 jsou teplotně závislé jednopólové spínače, konstruované pro regulaci teplot v kapalném prostředí. Jsou vhodné pro regulaci při teplovodním vytápění, u lisovacích forem na gumu a termoplasty, dále k regulaci a hlášení teplot vodních nebo olejových lázní apod. Základem termostatů je spolehlivý mechanický systém, který nemá žádnou vlastní spotřebu energie. Termostaty se vyznačují vysokou odolností proti mechanickému poškození a nízkými náklady na provoz a údržbu.
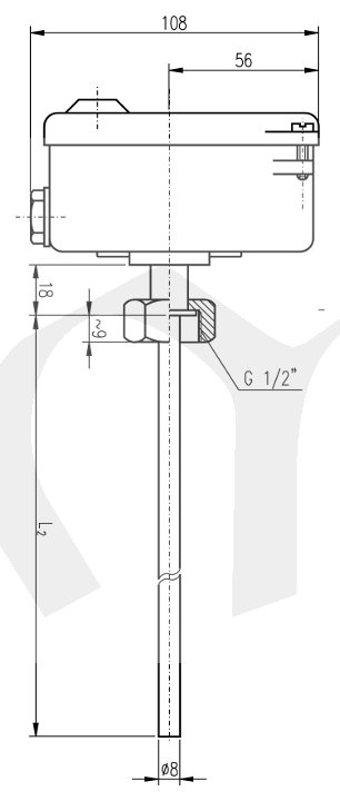
Popis
Teplotně citlivý element je stonek termostatu, tvořený u TH140 a TH143 dilatující mosaznou, u TH141 a TH144 antikorozní trubkou. Teplotní dilatace trubky se přenáší invarovou tyčí přes pákový převod na spínací mechanismus, který je umístěn v hlavici. Regulační knoflík pro nastavení žádané teploty je rovněž uzavřen v hlavici a lze jej zaaretovat, aby nedošlo (např. vlivem otřesů) k přestavení vypínací teploty. Termostat TH140ZP16 je pevně nastaven ve výrobním závodě podle požadavků zákazníka. Pro připevnění termostatu v regulovaném prostředí slouží převlečná matice na stonku termostatu.
Při montáži nesmí být stonek mechanicky namáhán a musí být uložen tak, aby mohl volně dilatovat. Při montáži v kapalném prostředí nutno použít ochrannou jímku. Termostaty TH140 a TH141 jsou určeny pro stejnosměrné zatížení - přepínací kontakty jsou přemostěny zhášecími kondenzátory. Termostaty TH143 a TH144 jsou určeny pro střídavé zatížení. Termostaty jsou velmi citlivé a odolné. Pracovní poloha termostatů je libovolná.
Technické údaje
Typ |
TH140 |
TH140 ZP 16 |
TH141 |
TH143 |
TH144 |
Regulační rozsah |
+20÷140 °C |
+20÷140 °C |
+100÷200 °C |
+20÷140 °C |
+100÷200 °C |
Diference spínací teploty |
1÷4 K |
4÷12 K |
1÷6 K |
1÷4 K |
1÷6 K |
Přesnost nastavení |
±10 % |
±10 % |
±10 % |
±10 % |
±10 % |
Délka stonku |
350 |
124 |
303 |
350 |
303 |
Délka termostatu |
440 |
214 |
393 |
440 |
393 |
Jmenovité napětí, proud |
60 V, 1 A ss |
250 V, 15 A st |
60 V, 1 A ss |
250 V, 15 A st |
250 V, 15 A st |
Hmotnost |
0,75 kg |
0,70 kg |
0,75 kg |
0,75 kg |
0,75 kg |
|
Krytí / teplota hlavice |
IP44 / 0..+120°C |
||||
|
Odolnost vnějším vlivům |
hlavice odolná vlivům třídy AB7, AE3, AM1, AN1, BE1 |
||||
Životnost |
100 000 cyklů |
||||
Odolnost proti rázům |
5g 1÷2 c/s |
5g 2÷2,5 c/s |
5g 1÷2 c/s |
5g 2÷2,5 c/s |
5g 1÷2 c/s |
